日前,本屆世界杯四強已經產生。隨著傳統強隊德國、巴西、阿根廷、葡萄牙、西班牙紛紛止步四分之一決賽,法國隊已然成為奪冠大熱門。據CIES的數據顯示,在今夏世界杯的身價榜中,所有參賽球員的總轉會價值高達126億歐元。而法國隊摘得了最貴球隊稱號,23人總價值為14.1億歐元。就目前的比賽看,這支法國隊也沒有辜負這昂貴的身價,小組賽就以C組頭名的身份昂首出線,淘汰賽階段又先后將阿根廷、烏拉圭斬于馬下,半決賽打破比利時連續二十四場不敗的神話,進軍決賽,已然離大力神杯只有一步之遙。
而在本屆世界杯的法國隊中,最亮眼的球員莫屬19歲的小將姆巴佩了。尤其在對陣阿根廷一役中,他以超強的個人能力攪得阿根廷隊年邁的后防線手忙腳亂,一人獨進兩球幾乎以一己之力淘汰了阿根廷隊。他就這樣帶著他滿身的才氣和活力以凌厲的方式闖進全世界的視線中,開始了在世界舞臺上的表演。
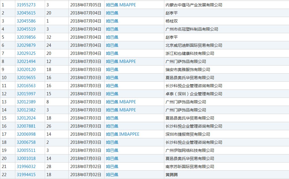
當姆巴佩這個名字開始讓所有人記住的時候,我們也發現,在商標局官網上已經有人將其注冊成了商標。通過查詢我們發現,最早在2017年4月就有公司在25類服裝上注冊了“姆巴佩”這一商標,而那時,正是姆巴佩以亮眼的戰績助力法甲摩納哥隊躋身當年歐冠半決賽之時。

在此之后,姆巴佩連續兩個賽季獲得法甲年度最佳新人稱號并轉會至法甲豪門巴黎圣日耳曼,并以差9票滿分的創歷史的方式獲得了歐洲金童獎,姆巴佩的名字越來越耀眼。與此同時,我們也可以看到在各個類別上申請“姆巴佩”這一商標的也越來越多。

在本屆世界杯開賽后,隨著姆巴佩的天賦與才華開始綻放,申請“姆巴佩”這一商標的人數又迎來了井噴式的增長,短短數日,就有八十多個關于“姆巴佩”的新申請。


其實,國外體育明星的名字在我國被人搶注成商標的案例并不少見。如著名的“喬丹”商標案, 歷時六年的“喬丹”商標之爭終于落下帷幕。北京知識產權法院近日審結了喬丹體育與國家工商行政管理總局商標評審委員會就“喬丹QIAODAN”商標侵權一案,認定訴爭商標具有欺騙性,駁回原告喬丹體育公司的訴求。法院認為:“喬丹體育公司明知邁克爾·杰弗里·喬丹在我國具有長期、廣泛的知名度,仍然使用‘喬丹’申請注冊爭議商標,容易導致相關公眾誤認為標記有爭議商標的商品與邁克爾·杰弗里·喬丹存在代言、許可等特定聯系,損害了邁克爾·杰弗里·喬丹的在先姓名權。”
如果說一開始“喬丹”這個名字所帶的知名度為喬丹體育開拓市場提供了一些營銷便利,隨著企業的發展,這個帶有一定糾紛的商標也為公司的發展埋下了不小的隱患。2011年,喬丹體育沖擊IPO就已通過發審會,并計劃于次年3月底前掛牌上市,但卻在次年2月被邁克爾·喬丹告上法庭,致使喬丹體育后來未能如愿拿到上市的正式批文。
品牌是一個企業發展的根基,在創辦之初就應該重視品牌建設,有知識產權保護意識和憂患意識。“蹭”名人熱度,打擦邊球獲得效益終究不是長遠之計。這輪“姆巴佩”商標搶注浪潮中,看似這些申請人很有眼光的發現了“新起之秀”,但暫且不論能否通過商標局審查以及后期能否通過使用將該商標的品牌價值發揮出來,一旦姆巴佩本人得知在千里之外的中國有人以他的名字搶注商標,完全可以通過法律途徑對這些商標提起異議或無效程序。到那時,申請人可能面臨著不占上風的商標爭奪和前功盡棄的品牌投入,得不償失。
世界杯四年才舉辦一屆,這顆星球上現役最偉大的球員都匯聚在這里盡情揮灑汗水,迸發激情與才華。在這一個月的賽程中,全世界的目光都聚焦在這片綠茵場上,想從其中投機取巧不如全身心的享受比賽,享受競技體育帶給我們的激情。賽場之外,想推廣一個好的品牌,可還是要扎扎實實的從原創上做文章。
鄭州睿信有限公司原創,轉載請標明出處!