
抖音小視頻帶火了西安的毛筆宴、摔碗酒,帶火了土耳其冰激凌,帶火了重慶的洪崖洞,帶火了一家家獨具特色的店,這些店被人們稱為“網紅店”。網紅店通過互聯網媒介受到人們的追捧,生意異常火爆。在鄭州就有這么一家奶茶店因為抖音小視頻火了起來,這就是“答案奶茶”。據說有許多人看了視頻后不遠萬里來到鄭州,寫下自己的問題,等待這杯奶茶給自己一個答案。但有一個問題,“答案”奶茶看了也只能沉默,那就是:你的商標 是不是 被搶注啦?
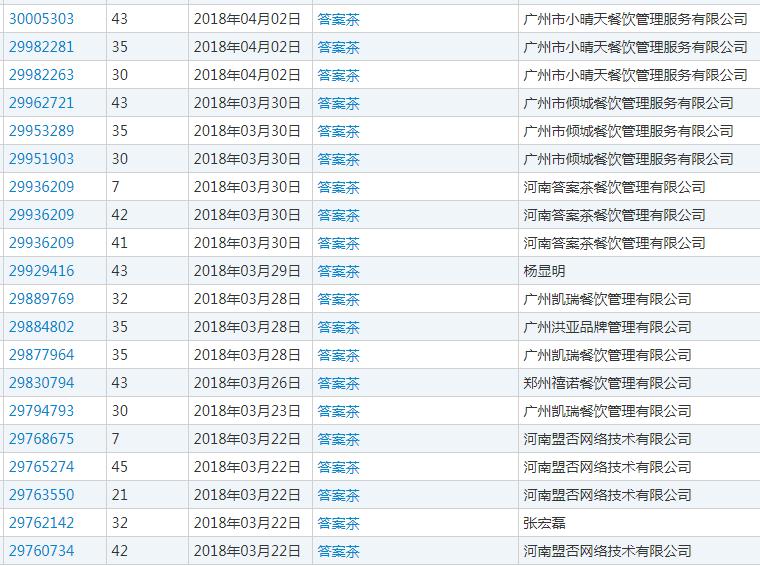
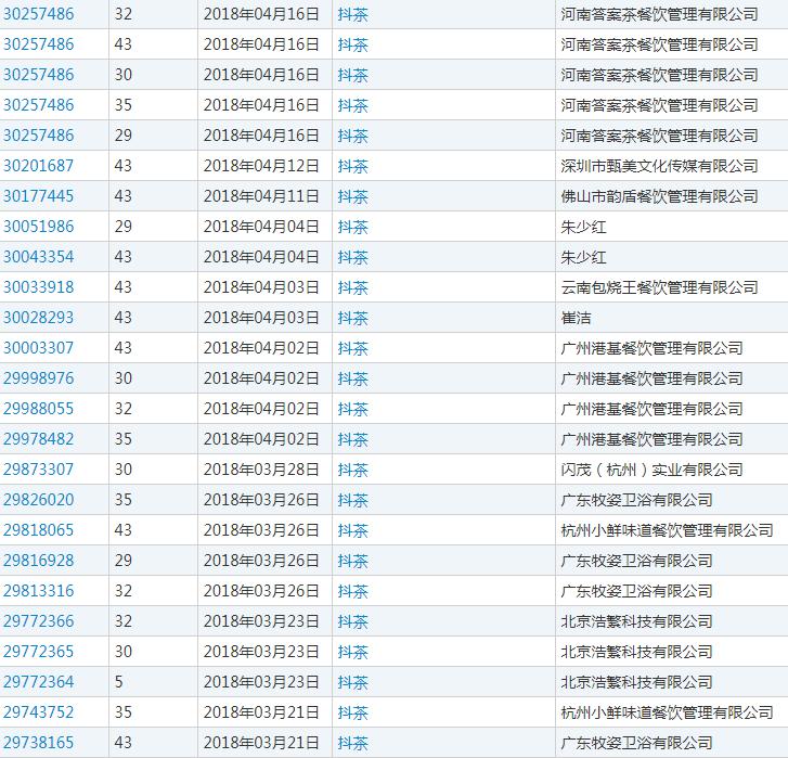
這家網紅奶茶店的所有人為DAC餐飲公司,這家公司推出了多種奶茶品牌,如“一杯便知”、“抖音茶”、“抖茶”、“答案茶”等。然而我們通過對DAC餐飲公司推出的系列奶茶商標名稱進行檢索后發現,DAC餐飲公司名下的商標早已被不同的申請人申請,且時間相差不多。以下是DAC餐飲公司名下的商標的部分申請情況。

(“答案茶”商標在2018年1月至4月盲查期內大約被不同的申請人申請90余次)

(“抖茶”商標在2018年1月到5月盲查期內約不同的申請人申請60余次)
“答案茶”、“抖茶”的申請時間均相差不大,還有許多同日申請的情況。我們遺憾的發現,DAC餐飲公司名下“抖茶”、“答案茶”商標的申請時間均在其他申請人之后,他們不得不面對這樣一個事實:他們的商標被搶注了。也許隨之而來DAC餐飲公司會通過轉讓、異議、無效、訴訟等方式來展開商標的爭奪戰,或直接更換品牌,重頭再來。但這其中需要的時間、精力、金錢、還有對品牌的影響,都是一筆巨大的支出。
市場上與DAC餐飲公司面臨類似情況的公司還有很多。這些公司具有獨到的商業眼光,能夠通過多種途徑打開市場,使得產品深受消費者青睞。然而他們往往在深挖市場的同時,忘記品牌的在先保護,以致于辛辛苦苦建立的品牌被他人搶注,伺機的仿冒者迅速進入市場搶奪份額,企業為了保護品牌往往要在后期耗費大量時間、金錢。或許到那時他們會想:如果當初在進行市場布局的時候就提前注冊商標,進行商標戰略布局保護,就不會有后來那么多麻煩事了。然而,事情往往沒有“如果”,教訓總是十分慘痛的。
“答案”奶茶沒有找到的答案,我們來告訴你。只要記住“市場未動,商標先行。”雖是簡單的八個字,卻需要意識和行動“齊步走”。在市場進行謀劃之時,就建立起商標的保護墻,不給他人以可趁之機。作為專業代理機構,我們真切希望品牌保護意識植入每個企業的“骨髓”。否則,這個漏洞不補遲早要釀成大禍,亡羊補牢又是事倍功半。
鄭州睿信知識產權代理有限公司原創,如有轉載請標明出處!